Appleは、アクションカメラ市場に参入かと思わせる新しい特許を取得したことが明らかになった。これは最初にPatently Appleが公にレポートした。本件はAppleが2012年に米国特許商標庁へ申請したもの。

150115_patent1

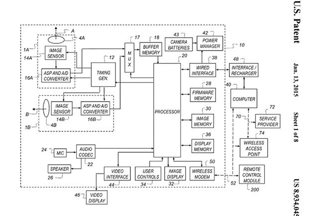
同社が提出した出願書類によると、特許は“リモコンを有するデジタルカメラ”と説明されており、イメージキャプチャモジュールとリモートコントロールモジュールが含まれ、アプリケーションに応じて写真を撮影し音を記録できるもの。また水中でも使用でき、バイクのヘルメットやスキューバマスクに取り付けられるアクションカメラの特徴も説明されている。発明の実施形態では他にも、水中での録画中に音声を水中マイク(ハイドロフォン)より録音できるとも説明がある。また2013年に買収したコダックからの知的財産を組み入れているとも見られる解説と参照図も含まれている。

150115patent3

本発明によるリモートコントロールユニットの構成要素を示す図。Apple WatchからiPhoneのカメラを遠隔操作するのに使用できるとも言われている

このニュースを受けてか、1月13日のGoPro株価は12%下落する事態が発生した。反面、Apple社株価の当日の終値は、前日比1%強上昇の110.22ドルとなった。

150115_goprostock

1月13日の終値が前日比マイナス12.170%となる49.87ドルまで下落。昨年の最高値より51%ダウン。それでもIPO時からは73%も株価を上げている

Appleは当日、本件の遠隔操作の技術と併せて33もの特許を取得している。

(山下香欧)