市場がVR(仮想化技術)に目を向けているところ、AppleはAR(拡張現実)の世界を広げようとしている。長年研究を重ねてきているAR関連の技術を実用化にする時期と見ているようだ。

同社が業界トップクラスのAR開発企業Metaioを買収した。MetaioはAppleが今まで頻繁に買収してきた新興企業ではなく、30か国以上に1000企業のクライアントを持つ業界の大手企業の一社である。スマートフォンやタブレットのスクリーンを利用して展開するAR技術を持っている。IKEAのバーチャルカタログやアウディのデジタルマニュアル、フェラーリのARショールームアプリなどハイプロファイルな顧客にソリューションを提供している。

ハードウェアには2013年末に、イスラエルのPrimeSenseという、マイクロソフトKinectの先端を走った3Dトラッキング技術とセンサーを持つ企業を3.4億ドル(約427億円)で買収している。当初は近々Appleが市場投入すると予測されていたテレビセット向けのセンサーに応用されるのではないかと言われていたが、PrimeSenseの精密な三次元マッピングは没入感を導くARに適応する。

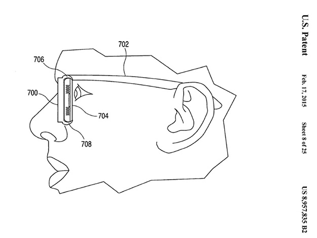
さらにAppleは、iOSデバイスでコントロール可能なAR向けゴーグル(メガネ)システムの新しい特許権利も今春に取得している。申請書類には具体的に仮想現実については言及していないが「立体画像化を作成するために複数の画像フレームの中に画面を分割することが可能」、そして「光モジュールはレンズを(メートル単位で)超えたメディアを表示できるよう調整することが可能」といった、ARのアイデアを表した文面が提示されている。 150603AR_apple2

(今春に特許権利を取得した“Head-Mounted Display Apparatus For Retaining a Portable Electronic Device With Display”より)

150603MapCompass_20110199479 (2011年に特許権利を取得した、“A Reality Map”より。 POI(Point of interest)で選択されたデータよりルートなどがARで表示される仕組み)

アップル情報専門の9to5macによると、Appleは次世代iOS(iOS 9)のプロジェクトコード“プロアクティブ”でSiriなどの機能を融合させたタイムリーな情報とPOI(Point of interest)を提供できるARインターフェイスを持つ地図アプリケーションを実現させようとしているという。次世代iOSについては来週8日に米サンフランシスコで開催される恒例のWWDC(デベロッパーズカンファレンス)にて明らかになる。

(山下香欧)