アメリカ国民的スポーツ、アメリカンフットボールの最大イベントであるスーパーボウルは来年2月、第51回の大会(Super Bowl LI)を迎える。同大会の模様を伝える中継放送は、1年を通して最大の注目を集める番組である。放送権は米国キー局が持ち回りをしており、次の51回目大会の放送主権はFOXが持っている。

FOXスポーツでは、8月のプレシーズンから国内最大級のスポーツ放送の準備を進めており、ライブプロダクションで契約しているGame Creek Video(ゲームクリークビデオ)社と共に、現場のオペレーションフローやテクニックを積み重ねてきている。大きなスポーツイベントで、フィールドの熱戦を一層盛り上げるようなテレビ演出を加えるために、さまざまな最新技術が駆使される。FOXスポーツは、プレシーズンやMLBといった、いわゆるプレミアスポーツ中継で投入してきた現場のカメラ技術を結集してSuper Bowl LIに臨む。今回はいくつか米報道で表にでてきたFOXスポーツの技術構築を紹介する。

FOXスポーツのライブプロダクションでは、ゲームクリークビデオ社のエンコア(Encore)シリーズの大型中継車が出動している。エンコアはEvertz社のIPベースのルーターを搭載しているのも特長。ソニーのハイスピードカメラ「HDC-4300」、Inertia Unlimitedの「Phantom Flex4K」といったHFR撮影ができるカメラソースを扱えるようになっている。Super Bowl LIでは、HDで16倍速撮影対応のHDC-4800も加え、超スローモーションのリプレイを惜しみなく入れ込む予定だ。スタジアムのフィールドには、ESPNが用いるパイロンカムのようなPOVカメラも、配置する場所やカメラ数を増やすことも検討している。

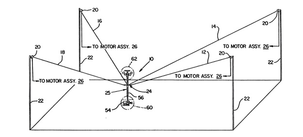
加えて、ロボット空撮カメラのSkycam(スカイカム)からのカメラソースを使った、オンエアグラフィックスが計画されている。昨年のシーズンでは、スカイカム新型のワイルドキャットシステムが、多くの試合中継で運用された。軽量化した新型モデルは、移動スピードを時速40kmまで高速化に成功し、また方向変換がより精細になっている。

スカイカムはソニーのボックスカメラ「HDC-P1」がジャイロスタビライザーとテザリングされ、光伝送システムと一緒にハウジングされている。ワイルドキャットでは、カメラシステムを変えてマウントすることが可能。専用のワイヤーロープがスタジアムの4か所から引き回され、そのロープを伝ってカメラシステムが高速に移動しながら上からスタジアムのフィールドをとらえていく。

160914_wire 160914_panelbox

オペレーションは、スカイカム操縦とカメラの操作を担当する2名が個々の操作パネルを使って行う。スタジアム内にバーチャル立体ボックスを見立て、その空間内(フライスペース)でスカイカムを操縦する。

Super Bowl LIでは、従来の中継から多く採用しているSportvisionの1st-and-Ten lineと、Vizrtのバーチャルグラフィックスを空撮カメラのソースと合成し、テレビスクリーンで今まで見たことのない演出と、解説で用いるグラフィックスを盛り込む案を練っている。

160914_gamescreen

Sportvisionの1st-and-Ten lineバーチャルグラフィックス

スタジアムのフィールド上を飛びながら、フィールド上に登場するバーチャルグラフィックスの中をくぐりぬけていくようなシーンも期待できる。現場では、スカイカムのソースと3Dグラフィックスを合成する実験をプリシーズンで行っており、この経験の延長上にある計画である。

ロボット空撮カメラの後発組になる独スパイダーカムによるリアルタイムグラフィックスとの合成例

(山下香欧)