新世代が手がける音楽映像の数々
ミュージックビデオ(MV)やライブ配信の映像コンテンツ制作の世界では、常に新しい才能が生まれている。 東京・代々木に事務所を構える株式会社feat.は、代表の今村知嗣氏が31歳と最年長で、在籍メンバーは若く、主に音楽系の映像制作を中心に手がけている若手クリエイティブチームだ。
メジャーからインディーズまでアーティストの映像制作を手がける。社内のクリエイティブチームTHINGS.のメンバーが現場で様々な役割もこなし、撮影カメラマン、また映像エディターとしても作業するなど、各々が複数の役割をこなす、新しい制作スタイルで活動している。
これまでもシネマカメラを使用したMV制作を行っていたが、コロナ禍でライブ配信、ライブ収録の依頼が増え、また現場スタッフの人数制限など、撮影環境も以前から変化した状況も考慮し、この機にソニーの「Cinema Line」シリーズを大々的に導入したという。 現在、メインのFX6をはじめ、FX9、FX3は現場で実際にはどのようなパフォーマンスを発揮しているのか?さらにその撮影現場で求められるものとは何か?
社内のクリエイティブチーム、THINGS.で、数々のミュージックビデオMV、ライブ配信の現場を手掛け、会社の代表でもあるプロデューサーの今村知嗣氏と、技術面を支えるテクニカル・ディレクターの吉岡直哉氏に、音楽映像の現場で活躍する、ソニー「Cinema Line」シリーズの魅力について伺った。

今村知嗣氏
株式会社feat. / THINGS. (プロデューサー/代表取締役)
吉岡直哉氏
株式会社feat. / THINGS. (テクニカル・ディレクター)
THINGS.の音楽映像制作に不可欠なFX6とFX3
THINGS.の手がける映像は音楽関連が中心だ
――株式会社feat.のこと、そしてTHINGS.について教えてください。

今村氏:
株式会社feat.は、2017年に僕を含めたバンド仲間3人で大阪に設立した会社です。音楽関係者が周りに多かったため、音楽業界のクリエイティブ制作やビジュアル制作の仕事をいただいて。それが今も続いているという状況です。
現在の映像制作に関しては、MVなど制作系とライブ配信が多いですね。割合では、7:3といった感じです。マキシマムザホルモンなどをはじめ、ロックバンドからAdo、MY FIRST STORYなど様々なアーティストや有名アイドルグループまでお仕事させていただいています。
クライアントもAmazon Musicほか大手配信事業社様など様々です。規模としてはライブハウスやホールレベルの収録や、ライブ配信ではスタジオからなど、様々なシチュエーションでの撮影に対応させていただいています。その他にもアパレルブランドや毎週定期配信のネット番組系なども手掛けています。
案件は東京のものが多かったので、数年前に東京へ拠点を移しました。現在12名ほど在籍しており、プロデューサーが3人とPM(プロダクション・マネージャー)が2人、ディレクターが4人とテクニカル・ディレクター、グラフィック・デザイナーとアシスタントといった構成です。
メンバー各々がその1つの役割をこなすのではなく、複数の作業を掛け持ちでマルチにこなしています。大半のメンバーは、撮影もできますし、映像編集、CGやVFXまでこなす多彩なメンバーが揃っています。
映像制作のノウハウは僕も含めてほとんどが独学で学びました。諸先輩方の現場に入らせていただいて色々と教えていただき、YouTubeを参考に学ぶこともあります。
THINGS.は、会社の中でのクリエイティブチーム名で、バンド由来の我々にふさわしい、ユニット名みたいなものですね。

――ソニー、Cinema Line導入のきっかけを教えてください。
今村氏:
制作機材としては、当初他社メーカーのシネマカメラを運用していました。このコロナ禍で毎回異なる環境でのライブ配信の現場が多くなり、機材を持ち込んで1からシステムを組み上げるために、毎度苦労していました。どんな現場でも 「取り扱いが容易でコンパクトかつ堅牢」であることを重視して、ソニーCinema Lineを選びました。
会社所有の機材として、FX6を3台とFX9を1台所有しています。要所によってFX3もレンタルしてかなり使用しています。FX3の導入も時間の問題かなとは思っています(笑)。
――Cinema Lineを現場ではどのように活用されていますか?またどのような役割を担っていますか?

吉岡氏:
FX6の選択の一番の理由は、コンパクトかつ高画質で、SDI端子が実装されていることです。ライブハウスなどでBNCケーブルを結線して、引き回しができることが大きいです。
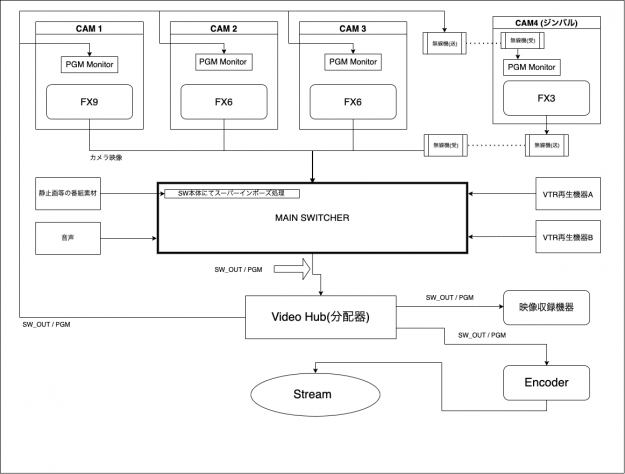
コロナ禍で、次第にライブ配信、ライブ収録現場が急増し、スイッチャーも安価でコンパクトなものから本格的な業務用に乗り換えました。やはり接続もHDMIではなくSDIが安心感や信頼性も高いし、長距離の引き回しもできる点で、スイッチャーとの互換性も考えて、カメラはFX6を選択しました。
ライブ配信撮影時の基本的なフォーメーションとして、カメラは4台体制をベースとします。カメラ配置としては、全体俯瞰の固定で1台、各人の寄りで1台ずつ計2台、あとは振りや接写用の1台があれば、どんな現場でもこなせると考えています。
4台全てFX6にしてもよかったのですが、1台はマニュアル操作の利便性や、6Kオーバーサンプリングによる高精細な映像など、もう一段上のクリエイティブを実現できるFX9を選択しました。
またFX3はステージ上や客席前などから遊撃する時に使用します。最近はライブ配信でのタテ型動画撮影のオーダーも増えてきました。その場合はFX3が便利ですね。大半はジンバルに載せ、映像を無線で飛ばして自由に動き回ります。MVでは、カット数も多くなるため、臨機応変な撮影を求められることも多いです。
FX3はそのコンパクトさを活かした運用で、ドキュメンタリーやBTS(メイキング)など動きまわる撮影の際に活躍します。AFや手ブレ補正が効いて、すごくいい仕事をしてくれるので、ワンオペ撮影時にとても重宝しています。
※画像をクリックして拡大
――導入してどのようなメリットがありましたか?
吉岡氏:
Cinema Lineの導入以前は、収録メディアの総量が膨大でしたが、 FX6/FX3では、圧縮されたビットレートの画質でも品質が高く、データも取り扱いがとても容易です。経費削減にもつながりました。またフルサイズセンサーを搭載したカメラなので狭い場所でも被写界深度の浅い表現や低照度環境下でもノイズ少なく撮影できるなど様々な条件に柔軟に対応できるようになりました。FX6は、もはやライブ配信やライブ収録において欠かせない存在です。
以前は、HDMI出力端子をもったシネマカメラで運用していましたが、FX6のSDI端子になったことでミニジブなどの小型クレーンに乗せる時やハンディカメラとして運用する時も安心感が大きいです。
さらに内蔵の電子式可変NDフィルターを使用することで、ライブ中の照明変化にも柔軟に対応することができるようになりました。 これまでは難しかった撮影方法も、FX6登場によって具現が可能になったことも多いですね。 あと色彩の点で、以前使用していたα7S IIからCinema Lineのカメラに変わって進化した部分では、S-Cinetoneの搭載は大きかったです。非常にカラーも良くなった印象ですし、S-Cinetoneのまま配信することも多々ありますね。
今村氏:
撮影は、カメラ毎にカメラマンが必ず付くスタイルが基本です。コロナ禍でスタジオや現場の環境次第では、カメラマンに人員をあまり割けないことも多いのですが、高精度のリアルタイム瞳AFが実装されたおかげで、フォーカスは基本カメラに任せてしまい、オペレーションが効率化できたことが大きなメリットでした。その分、他のクリエイティブな部分にリソースを投入できるようになったのも良かったですね。
次世代映像クリエイターがCinema Lineを選択する理由
――レンズなど周辺機材についても教えてください。

吉岡氏:
現在よく使用するのは、FE 16-35mm F2.8 GMとFE 24-105mm F4 G OSSですね。
FE 16-35mm F2.8 GMに関しては、やはり歪みが少なく綺麗な広角が押さえられるからです。FE 24-105mm F4 G OSSに関しては、暗部に強いFX6とFX9を所有していますので、より画角の幅があるレンズということで選択しました。
またこれから導入したいと考えているのは、FE PZ 28-135mm F4 G OSSです。FX6は、AFありきで運用します。逆にFX9の場合は、ほとんどマニュアル操作が多いです。周辺機器で言いますとFX6は三脚のほか、ミニジブ、FX3はほとんどジンバルに載せて使うケースが多いですね。
――Cinema Lineは思い描いた成果物をつくりあげることができるカメラですか?満足いくアウトプットを出せるカメラでしたか?
吉岡氏:
以前使っていた、α7S IIに比べて、ドキュメンタリー映像やBTS(メイキング)撮影でも、Cinema Lineにしたことでクオリティが飛躍的に向上しました。
カメラが小さい分、アーティストにも"撮られている意識 "をさせづらいですし、別オプションを使用することなくXLR入力でしっかり音声を収録できる部分も非常に大きく、とても満足できるカメラと言えますね。
――今後Cinema Lineで、どのようなコンテンツを制作したいですか?
今村氏:
ソニーのドローンAirPeak S1 にFX3を搭載して撮影してみたいですね。リアルタイム瞳AFでモデルさんを捉えながら至近距離から、空高くまで一気に離れていく…といった演出もできそうですよね。またアクションカム的な意味でCinema Lineのボックスタイプのカメラがあれば、使いやすいと思いますね。
――Cinema Lineついて、リクエストはありますか?

吉岡氏:
FX3に、α7Sで採用されていたチルトモニター機構を搭載希望です。バリアングルモニターは被写体側に向けるなど様々な角度の使い方ができますが、機材をよりコンパクトにして、外部出力なしでオペレートする際には、チルトモニターの方が使いやすいと思います。あと、バリアングルモニターは角度によってケーブル端子出力部と干渉してしまう点も少し気になります。
コロナ禍で密着した撮影を避けなければならない場面やステージ上などで、カメラマンが立ち入れない位置にカメラを設置することが多いため、これからは遠隔操作がキーワードになると思います。その場合に利用しやすく、より小型で外部出力に特化したモデルがCinema Lineとして発売されることを望みます。
例えば今村も言及していましたが、液晶モニターなし、SDI端子のついたボックスタイプのモデルとかあると面白いですね。あとCinema LineのPTZ(パン・チルト・ズーム)カメラがあれば、きっとライブ配信やライブ収録などで需要があると思います。
――機材の進化と変化は、目まぐるしい限りです。この状況について所感をお聞かせください。
今村氏:
技術進歩により、ローコストでハイクオリティな機材が手に入るようになり、多くの若手クリエイターがこれまで以上に台頭してきています。すごく刺激になります。
また、ソフトウェアアップデートなどで、機能がどんどん拡張されることも凄く嬉しいですね。 新しい技術、機材が世に出ることで、撮影方法なども日々変化していると実感します。僕たちは常にアンテナを張り、新しい情報、知識のアップデートに努めていきたいと思っています。